ОСТ 108.318.14-82 - Переходы для трубопроводов ТЭС










Обжатые переходы, изготовляются из труб по ТУ 14-3-460, для трубопроводов пара и горячей воды тепловых электростанций.
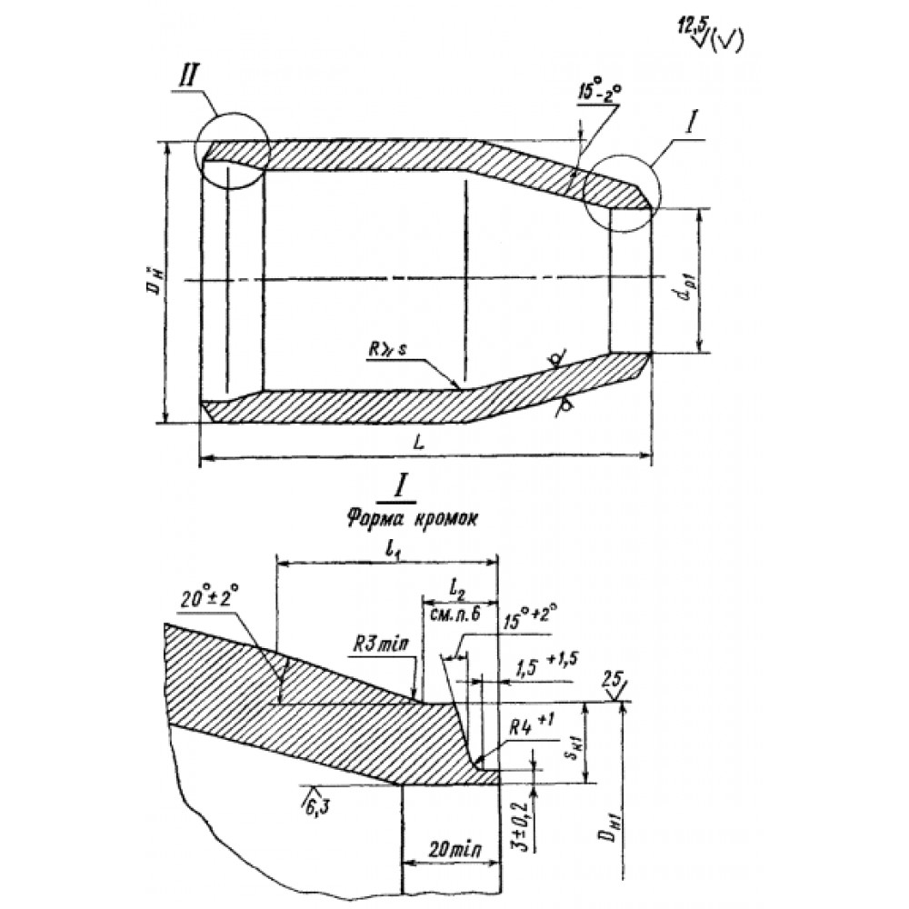
Конструкция и основные размеры обжатых переходов для трубопроводов абсолютным давлением и температурой среды:
p = 3,92 МПа (40 кгс/см2), t = 440oС;
p = 7,45 МПа (76 кгс/см2), t = 145oС.
Конструкция, размеры и материал переходов должны соответствовать указанным на черт. и в таблице.
Предельные отклонения наружного диаметра и толщины стенки не обжатого конца перехода - по ТУ 14-3-460.
Технические требования к разделке подготовленных под сварку кромок перехода – по ОСТ 108.940.02.
При длине обточки l1, превышающей 50 мм, допускается заканчивать обточку под углом 45o.
Допускается изготовление подкатанной части без прямых участков. Остальные технические требования - по ОСТ 24.125.60.
Пример условного обозначения перехода исполнения 07 с условными проходами Dу = 150 мм, dу = 100 мм:
ПЕРЕХОД 150?100 07 ОСТ 108.318.14.
ОСТ 108.318.14-82 - Переходы для трубопроводов ТЭС
| Исполнение | Черт. | Проход условный | Наружный диаметр и толщина стенки присоединяемых труб | Dн* | Dн1 | dр | dр1 | s* | sк | sк1 | L | lр | l2 | Материал (марка, ТУ) | Масса, кг | ||||||||
| I | II | Dу | dу | Номин. | Пред. откл. | Номин. | Пред. откл. | Номин. | Пред. откл. | не менее | Номин. | Пред. откл. | Номин. | Пред. откл. | |||||||||
| p = 3,92 МПа (40 кгс/см2), t = 440oС; p = 7,45 МПа (76 кгс/см2), t = 145oС | |||||||||||||||||||||||
| 01 | 2 | 4 | 80 | 50 | 89?6 | 57?3,5 | 89 | 57 | +2 -1 | - | - | 50 | +0,39 | 6 | - | 2,8 | 200 | ± 2 | - | - | 12 | Сталь 20 ТУ 14-3-460 | 2,5 |
| 02 | 1 | 3 | 200 | 150 | 219?13 | 159?9 | 219 | 159 | 195 | +0,72 | 142 | +0,63 | 16 | 9,5 | 7,2 | 280 | 50 | +5 | 15 | Сталь 15ГС ТУ 14-3-460 | 23,9 | ||
| 03 | 250 | 200 | 273?16 | 219?13 | 273 | 219 | +3 -1 | 244 | 195 | +0,72 | 20 | 11,5 | 9,5 | 320 | ± 3 | 42,6 | |||||||
| 04 | 300 | 325?19 | 325 | 290 | +0,81 | 22 | 13,5 | 440 | 77,5 | ||||||||||||||
| 05 | 250 | 273?16 | 273 | +4 -1 | 244 | 11,5 | 320 | 17 | 56,2 | ||||||||||||||
| p = 3,92 МПа (40 кгс/см2), t = 440oС | |||||||||||||||||||||||
| 06 | 2 | 3 | 100 | 80 | 108?8 | 89?6 | 108 | 89 | +2 -1 | 93 | +0,54 | 77 | +0,46 | 8 | 5,4 | 5,0 | 170 | ± 2 | 50 | +5 | 15 | Сталь 20 ТУ 14-3-460 | 3,3 |
| 07 | 1 | 150 | 100 | 159?9 | 108?8 | 159 | 108 | 142 | +0,63 | 93 | +0,54 | 13 | 7,2 | 5,4 | 250 | 12,5 | |||||||
| p = 7,45 МПа (76 кгс/см2), t = 145oС | |||||||||||||||||||||||
| 08 | 2 | 5 | 100 | 80 | 108?6 | 89?6 | 108 | 89 | +2 -1 | 97 | +0,54 | 77 | +0,46 | 8 | 4,6 | 5,0 | 170 | ± 2 | 50 | +5 | 15 | Сталь 20 ТУ 14-3-460 | 3,4 |
| 09 | 3 | 150 | 100 | 159?9 | 108?6 | 159 | 108 | 142 | +0,63 | 97 | +0,54 | 13 | 7,2 | 4,6 | 250 | 12,5 | |||||||
